产品目录 Products
产品目录
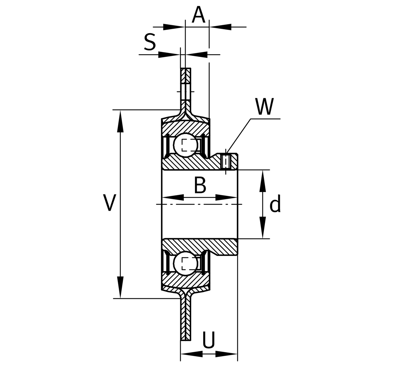
技术图纸
主要尺寸和性能数据
d
15 mm
内径
H
81 mm
法兰高度
H
81 mm
法兰宽度
U
18 mm
单元总高度
Cr
10,100 N
基本额定动载荷, 径向
C0r
4,750 N
基本额定静载荷,径向
C0r G
2,700 N
承载能力(轴承座)
≈m
0.23 kg
重量
安装尺寸
J
63.5 mm
节圆直径(孔)
N
7.1 mm
固定方块
n
3
螺栓孔数量
尺寸
A
7 mm
轴承座高度
B
22 mm
宽度
S
2 mm
法兰厚度
V
48 mm
轴承座挡肩直径
附加信息
2
轴承座数量
FLAN40-MSB
轴承座
AY15-XL-NPP-B
轴承型号
温度范围
Tmin
-20 °C
Operating temperature min.
Tmax
120 °C
Operating temperature max.
